Assignments No –
I
Topic-Basic
Machine Design, Design of Shaft, Keys & Coupling
Date of Issue: 8th August,
2013 Date of
Submission: 14th August, 2013
1.
Explain the different stages in the design of machine elements.
2.
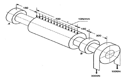
A armature shaft of a 40 kW, 720
rpm electric motor, mounted on two bearings A and B as shown in figure. Total
magnetic pull on the armature is 7 kN and it can be assumed to be uniformly
distributed over a length of 700 mm midway between the bearings. The shaft is
made of steel with a ultimate tensile strength of 770 N/mm2 and yield
strength of 580 N/mm2. Determine
the diameter of shaft if Km =1.5 and Kt=1.0, assume that
the pulley is keyed to the shaft.
3.
The problem is shown in the given
figure. A pulley drive is transmitting power to a pinion, which in turn is transmitting
power to some other machine element. Pulley and pinion diameters are 400mm and
200mm respectively. Shaft has to be designed for minor to heavy shock
ASME code for shaft design is suitable in this case
as no other specifications are provided.
In absence of any data for material
property, the allowable
shear for commercial
steel shaft may be
taken as 40 MPa, where keyway is
present in the shaft. For the given
condition of shock, let us consider Km = 2.0 and Kt =
1.5.
4.
What is key? How are the keys
classified? Draw neat sketches of different types of keys and state their applications.
5.
Discuss the function of couplings
and effect of key way cut into shaft. Explain the difference between rigid and flexible coupling.
6.
Design a cast iron protective
flange coupling to connect two shafts in order to transmit 7.5 kW at 720 rpm.
The following permissible stresses may be used:
Permissible shear stress for shaft, bolt
and key material = 33 MPa
Permissible crushing stress for bolt and
key material = 60MPa
Permissible shear stress for the cat
iron = 15 MPa
7.
Design a
bushed pin type
flexible coupling for
connecting a motor
shaft to a
pump shaft for
the following service conditions:
Power to be transmitted = 40 kW; speed of the motor
shaft = 1000 r.p.m.; diameter of the motor shaft = 50 mm; diameter of the pump
shaft = 45 mm. The bearing pressure in the rubber bush and allowable stress in
the pins are to be limited to 0.45 N/mm2 and 25 MPa respectively.
Note: On the last date of submission of your assignment, a
minor test of 20 marks will be conducted


Great post. These are the different stages in machine element,These plates are manufactured by the vendors using superior grade mild steel so as to ensure their longer service life and high tensile strength. ms plate price in Chennai will offer you an affordable price.
ReplyDelete